Microsoft патентует рюкзак-помощник с элементами искусственного интеллекта

2

Microsoft патентует рюкзак-помощник с элементами искусственного интеллекта

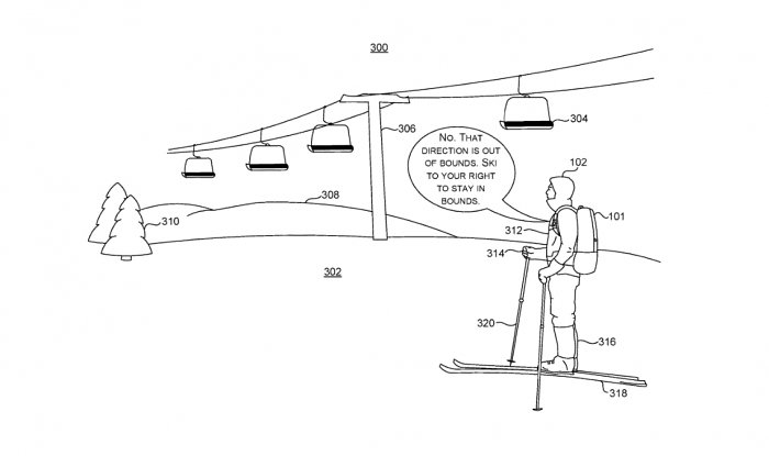
Патентное ведомство США обнародовало заявку от компании Microsoft на патент технологии «умного рюкзака», который выступает в качестве универсального информационного помощника своего владельца. Это достигается за счет использования искусственного интеллекта, что автоматически делает устройство бесполезным в по-настоящему сложных ситуациях, когда нет подключения к Интернету и серверу ИИ.

Microsoft патентует рюкзак-помощник с элементами искусственного интеллекта

В рюкзак встроен миниатюрный компьютер, который принимает информацию извне через набор датчиков. Он интерпретирует входящие данные и создает запросы на сервер ИИ, а затем выдает ответ. При необходимости рюкзак может осматривать местность через камеры, уточнять свое местоположение, записывать звуки и прочие данные. Это помогает ИИ точно определять окружение пользователя и вырабатывать наиболее оптимальные решения для разных ситуаций.

Microsoft патентует рюкзак-помощник с элементами искусственного интеллекта

Взаимодействие с пользователем происходит при помощи голосовых команд. Система умеет ориентироваться в происходящих событиях и может дать подсказку — например, предостеречь от посещения концерта на открытом стадионе, если через несколько часов ожидается проливной дождь. Как и любой ИИ, устройство нуждается в первоначальном обучении, от которого напрямую зависят его эффективность и польза.

Microsoft патентует рюкзак-помощник с элементами искусственного интеллекта

Источник: www.techcult.ru

Comments are closed.